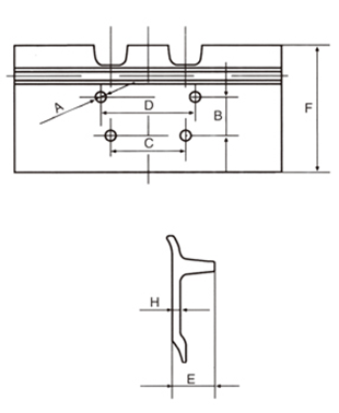
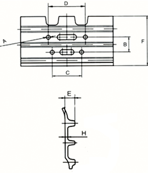
履带板规格参数(Track Shoe Specifications)
| 产品截面图 Section drawing | 履带板件号 Specification | A | B | C | D | E | F | H |
![]() 推土机履带板 | T154A | 14.5 | 57.00 | 73.0 | 89 | 58 | 182.5 | 9.5 |
| T154B | 14.5 | 57.00 | 82.40 | 112.4 | 55.5 | 182.5 | 9.5 | |
| T171A | 16.5 | 58.75 | 125.4 | 144.5 | 62 | 199.6 | 12.0 | |
| T171B | 16.5 | 57.00 | 122.4 | 158.4 | 62 | 199.6 | 12.0 | |
| T171C | 16.5 | 60.30 | 107.9 | 107.9 | 62 | 199.6 | 12.0 | |
| T171D | 16.5 | 57.00 | 103.8 | 103.8 | 62 | 199.6 | 12.0 | |
| T190A | 19.5 | 63.50 | 139.6 | 139.6 | 63 | 215 | 13 | |
| T203A | 20.5 | 72.20 | 138.4 | 178.4 | 74 | 238 | 14 | |
| T203B | 20.5 | 72.00 | 146 | 184 | 74 | 238 | 14 | |
| T203C | 20.5 | 76.20 | 146 | 184 | 74 | 238 | 14 | |
| T203D | 19.5 | 72.20 | 138.4 | 178.4 | 74 | 238 | 14 | |
| T203E | 19.5 | 76.20 | 133.3 | 171.3 | 74 | 238 | 14 | |
| T203F | 19.5 | 44.40 | 134.1 | 158.75 | 74 | 238 | 14 | |
| T203G | 20.5 | 68.00 | 137.3 | 185.3 | 74 | 238 | 14 | |
| T216A | 20.5 | 76.20 | 146 | 184 | 86.3 | 252.3 | 14.3 | |
| T216B | 19.5 | 76.20 | 146 | 184 | 86.3 | 252.3 | 14.3 | |
| T216C | 19.5 | 74.62 | 154.9 | 199.39 | 86.3 | 252.3 | 14.3 | |
| T216D | 20.5 | 70.00 | 149.5 | 205.5 | 86.3 | 252.3 | 14.3 | |
| T228A | 24.5 | 76.2 | 169 | 219.8 | 97 | 268 | 17 | |
| T228B | 23.5 | 76.2 | 169.8 | 201.6 | 97 | 268 | 17 | |
| T228C | 23.8 | 76.2 | 169.3 | 201.1 | 97 | 268 | 17 | |
| T228D | 23.8 | 50.80 | 179.1 | 201.1 | 97 | 268 | 17 | |
挖掘机履带板 | W101A | 10.5 | 22 | 55 | 55 | 22.5 | 110 | 6 |
| W135A | 14.8 | 45 | 83 | 110 | 20 | 154 | 6 | |
| W135B | 13.2 | 46 | 80 | 104 | 20 | 154 | 6 | |
| W135C | 12.5 | 46 | 64 | 92 | 20 | 154 | 6 | |
| W154A | 14.5 | 57 | 73 | 89 | 26 | 165 | 6 | |
| W154B | 14.5 | 57 | 82.4 | 112.4 | 26 | 165 | 6 | |
| W154C | 14.5 | 55 | 90 | 90 | 26 | 165 | 6 | |
| W158A | 14.8 | 56 | 99 | 99 | 26 | 187 | 8 | |
| W171A | 18.5 | 57 | 122.4 | 158.4 | 34.5 | 198.9 | 8/9 | |
| W171B | 16.21 | 60.4 | 108 | 108 | 34.5 | 198.9 | 8/9 | |
| W171C | 16.3 | 57 | 86.4 | 102.4 | 34.5 | 198.9 | 8/9 | |
| W171D | 16.5 | 58.9 | 125.4 | 144.5 | 34.5 | 198.9 | 8/9 | |
| W171E | 16.5 | 58.7 | 110.9 | 158.4 | 34.5 | 198.9 | 8/9 | |
| W171F | 20.5 | 58.9 | 124.4 | 144.5 | 34.5 | 198.9 | 8/9 | |
| W171G | 16.5 | 58.7 | 138.4 | 130 | 34.5 | 198.9 | 8/9 | |
| W190A | 20.5 | 62 | 138.4 | 160.4 | 36 | 219 | 8.5/10 | |
| W190B | 18.5 | 62 | 129 | 160.4 | 36 | 219 | 8.5/10 | |
| W190C | 20.85 | 69 | 119.57 | 155.57 | 36 | 219 | 8.5/10 | |
| W190D | 20.5 | 62 | 124.4 | 160.4 | 36 | 219 | 8.5/10 | |
| W203A | 20.5 | 72.2 | 138.4 | 178.4 | 41 | 236 | 11/13 | |
| W203B | 22.5 | 72.2 | 138.4 | 178.4 | 41 | 236 | 11/13 | |
| W203C | 21 | 72 | 129 | 179 | 41 | 236 | 11/13 | |
| W203D | 20.5 | 72.2 | 146 | 184 | 41 | 236 | 11/13 | |
| W203E | 19.5 | 76.2 | 133.3 | 171.3 | 41 | 236 | 11/13 | |
| W203F | 19.6 | 76.2 | 116.5 | 154.6 | 41 | 236 | 11/13 | |
| W216A | 22.8 | 76.2 | 140.4 | 178.4 | 44 | 247 | 11/13 | |
| W216B | 22.8 | 76.2 | 146 | 184 | 44 | 247 | 11/13 | |
| W216C | 24.6 | 76.2 | 146 | 184 | 44 | 247 | 11/13 | |
| W216D | 19.5 | 76.2 | 146 | 184 | 44 | 247 | 11/13 | |
| W216E | 22.8 | 76.2 | 140 | 190 | 44 | 247 | 11/13 | |
| W216F | 20.5 | 76.2 | 146 | 184 | 44 | 247 | 11/13 | |
| W216G | 21.0 | 76.2 | 146 | 184 | 44 | 247 | 11/13 | |
| W216H | 24.6 | 76.2 | 144 | 184 | 44 | 247 | 11/13 | |